梅州市
登录
网站数据分析
繁體中文
无障碍
𐃨
关怀版
智能机器人
网站支持IPv6
梅州市梅江区人民政府
首页
政务公开
政务服务
互动交流
走进梅江
推动高质量发展
当前位置:
首页
>
政务公开
>
重点领域公开
>
保障性住房
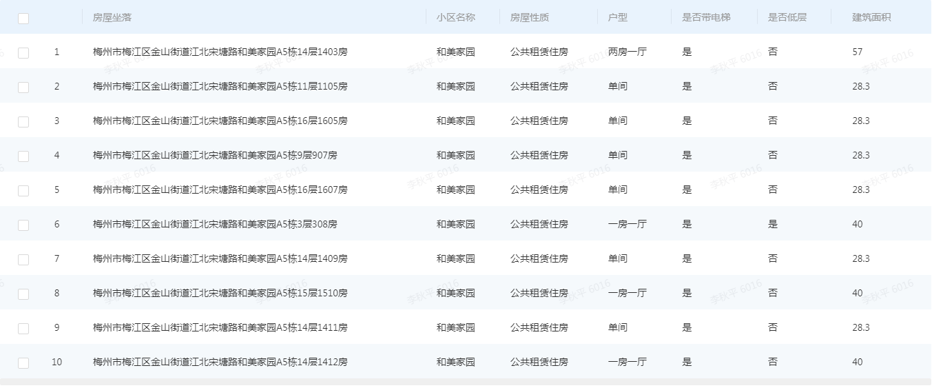
2025年第4批(2025年12月)梅州城区公共租赁住房拟分配房源
来源:本网 发布时间:2025-12-08 09:55:56 浏览次数:
-
【字号:
大
中
小
】
分享到: